|
曝光台 注意防骗 网曝天猫店富美金盛家居专营店坑蒙拐骗欺诈消费者
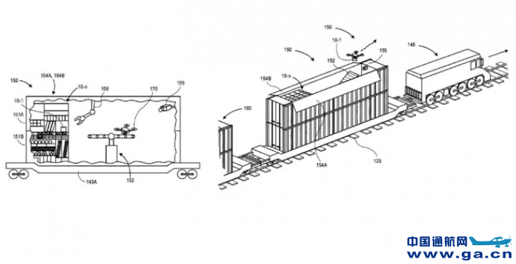
亚马逊何时才能将专利付诸现实? 对于亚马逊无人机专利的申请,相信业内已经是司空见惯里。隔那么一段时间,我们总能看见亚马逊曝出一个又一个的无人机专利。这不,亚马逊又被曝出了一个。 日前,外媒透露了一份亚马逊向美国专利局申请的专利报告。根据报告内容,亚马逊希望建立一个海陆中继站,以让无人机能够在更合适的地点进行充电、维护和部或服务。
众所周知,续航问题一直是无人机的一个“老大难”问题,在这方面,亚马逊也是下了很多信息,从可降落充电的无人机电线桩,到空中飞行的空中补给站等等等等。而此次新专利的用途看起来也相类似。 具体来讲,亚马逊希望这些运输工具上(大货车、火车以及各种型号的货船)配有各种维修工具与零件,届时就算运输工具正在移动也可提供检查与维修服务,如果有需要,运输工具将驶往特定地点,提供无人机所需的服务。 不得不承认,亚马逊为了自己的无人机送货业务是操碎了心。不过,这么长时间以来,我们只是看见一个又一个新专利的曝出,却没见亚马逊有一丝动作。对此我们只能感叹,也不知道什么时候才能见到亚马逊的这些新奇想法。 中国通航网 www.ga.cn 通航翻译 www.aviation.cn 本文链接地址:亚马逊又曝光了一个无人机专利 目的是为了解决充电和维修问题 |





