|
曝光台 注意防骗 网曝天猫店富美金盛家居专营店坑蒙拐骗欺诈消费者
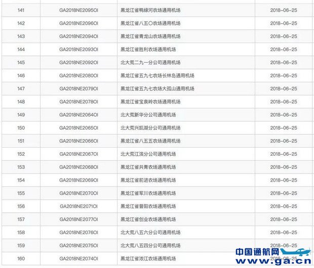
自2017年4月14日民航局《通用机场分类管理办法》发布以来,通用机场取证数量一直处于加速增长的趋势,2018年起,全国各地均掀起了通用机场建设潮。据民航局公布,截至2019年4月15日,全国已取证通用机场数量已达到213个。从2018年10月29日的183个到2019年4月15日的213个,短短半年左右的时间,全国新增的已取证通用机场数量30个。
截至2019年04月15日,全国213个已取证通用机场名单如下(点击看大图):
![]() ![]() ![]() ![]() ![]() ![]() ![]() ![]() ![]() ![]() ![]()
从上述全国已取证通用机场名单可以看出,2019年4月12日,山西省长治屯留沙家庄机场获得山西监管局颁发了B类通用机场使用许可证,这是山西省首个B类通用机场。机场位置位于山西省长治市屯留区沙家庄村南。据了解,该机场运营人及所有人均为山西省长治航空运动学校。
长治市有着深厚通航底蕴,是山西通用航空发展布局的重要承载地,也是中国通用航空的发源地之一。4月26-28日将在沙家庄机场举办2019长治通用航空产业展览会,同期还将举行航空体育文旅发展论坛、航空文化科普互动展、飞行演示演练等丰富多彩的活动。
据了解,举办通用航空展是充分展现长治市通用航空产业发展基础,有效推动通用航空产业加速发展的一次重大机遇。 中国通航网 www.ga.cn 通航翻译 www.aviation.cn 本文链接地址:半年增加30个!全国已取证通用机场达213个(附名单) |
















