|
曝光台 注意防骗 网曝天猫店富美金盛家居专营店坑蒙拐骗欺诈消费者
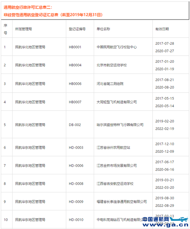
昨日(4月12日),通航在线发布了全国首例个人非经营性通航登记证诞生(戳此阅读),有少部分通航友人对全国首例个人非经营性登记证表示质疑,表示个人非经营性通航登记证并非首例,先前早已经有过了。此为涉及数据的准确性,小编进一步求证,以解大家疑惑。 2020年1月21日,民航局运输司发布《关于发布2019年度通用航空行政许可信息的公告》,公告公布了5个汇总表,分别是通用航空经营许可汇总表及注销汇总表、 非经营性通用航空登记汇总表及注销登记汇总表、无人机经营登记汇总表,今天我们特地来看看非经营性通用航空登记及往期注销情况。
从民航局公布的《非经营性通用航空登记汇总表》中可以看到,截至2019年12月31日,全国共有20家非经营性通航企业&个人获得经营许可,其中19家为通航企业,1家为个人,具体登记汇总情况如下:
![]() ![]() ![]() 个人登记的非经营性通用航空登记证,登记类别:个人
为避免是否早期已有个人注册了但后面注销掉的情况,小编翻查了《非经营性通用航空登记注销表》,注销掉的也没有看到是以个人登记的情况,具体注销情况如下:
![]() |








