|
曝光台 注意防骗 网曝天猫店富美金盛家居专营店坑蒙拐骗欺诈消费者
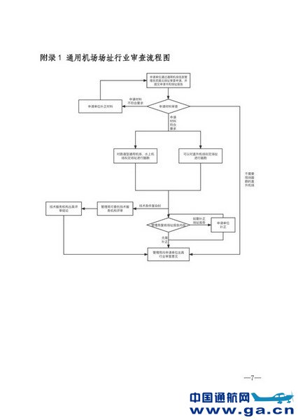
2022年9月30日,民航局机场司发布关于对《通用机场场址行业审查办法》征求意见的通知。通知指出,为有序推进通用机场管理改革,进一步规范通用机场场址审查管理,机场司组织编写了《通用机场场址行业审查办法》,已形成征求意见稿,现公开征求社会意见。2022年10月30日前反馈截止。
![]()
![]() ![]() ![]() ![]() ![]() ![]() ![]() ![]() ![]() ![]() ![]() ![]() ![]() ![]() ![]() ![]() ![]() |
|
曝光台 注意防骗 网曝天猫店富美金盛家居专营店坑蒙拐骗欺诈消费者
2022年9月30日,民航局机场司发布关于对《通用机场场址行业审查办法》征求意见的通知。通知指出,为有序推进通用机场管理改革,进一步规范通用机场场址审查管理,机场司组织编写了《通用机场场址行业审查办法》,已形成征求意见稿,现公开征求社会意见。2022年10月30日前反馈截止。
![]()
![]() ![]() ![]() ![]() ![]() ![]() ![]() ![]() ![]() ![]() ![]() ![]() ![]() ![]() ![]() ![]() ![]() |